航空业长期以来一直以持续的推进创新为特征,现在正在探索氢气作为一种有前途的清洁燃料替代品。飞机发动机制造领域的全球领导者劳斯莱斯最近申请了一种专为燃气涡轮发动机设计的新型氢燃料系统的专利。这一发展代表着在解决与氢动力飞行相关的技术挑战方面迈出了重大一步。

创新的燃油系统设计
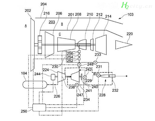
该专利系统专注于克服液氢-253°C极低储存温度带来的困难。 该设计包含一个主燃油导管,该管道配备了一个能够处理氢气的专用泵,该泵将加压燃料直接输送到发动机的核心燃烧室。此外,辅助燃烧器燃烧一部分氢气来预热剩余的燃料,从而提高燃烧的稳定性和效率。这种方法旨在创建一种更加受控和有效的燃料输送机制,有可能使氢燃烧在航空应用中更加实用。
氢气作为航空燃料的吸引力在于其清洁燃烧特性,仅产生水蒸气作为副产品。然而,其低密度和低温储存要求需要比传统喷气燃料罐占用更多空间的高度隔热储罐。这些因素给飞机制造商带来了重大的设计挑战,需要对机场基础设施进行重大修改。劳斯莱斯的系统旨在通过优化燃料处理和燃烧过程来缓解这些问题,这可以促进氢推进在未来飞机中的集成。
行业影响和未来前景
尽管技术前景广阔,但商业采用的道路仍然很复杂。氢动力发动机的开发和认证涉及相当大的技术障碍和资金投资。此外,航空业必须进行广泛的基础设施升级,包括建立氢气储存和加注设施,以支持广泛使用。
市场对劳斯莱斯氢能计划的反应是积极的,在上半年强劲的财务业绩下,该公司的股价达到了峰值。这种积极势头反映了投资者对可持续航空技术的信心不断增强。与此同时,Boom 和 Spike 等其他行业参与者正在探索未来超音速公务机的氢推进,这表明向环境可持续飞行解决方案的更广泛转变。
劳斯莱斯目前正在对其氢发动机技术进行严格的地面测试,并计划在不久的将来进行飞行测试。该公司的目标是到 2030 年代中期为中小型飞机引入氢燃料发动机,而在大型商用飞机中采用此类技术仍然是一个长期目标。实现这一目标将取决于整个航空业的持续技术创新和协作努力。
随着该行业加大力度减少碳排放,劳斯莱斯的专利代表了氢动力航空领域的关键发展,凸显了未来的潜力和挑战。
来源: https://simpleflying.com/rolls-royce-patent-hydrogen-electric-engine-systems/
平台声明:该文观点仅代表作者本人,零碳未来网 系信息发布平台,我们仅提供信息存储空间服务。















发表评论 取消回复